******yl6809永利(中国)有限公司官网

结项获奖

当前位置: 首页 > 正文

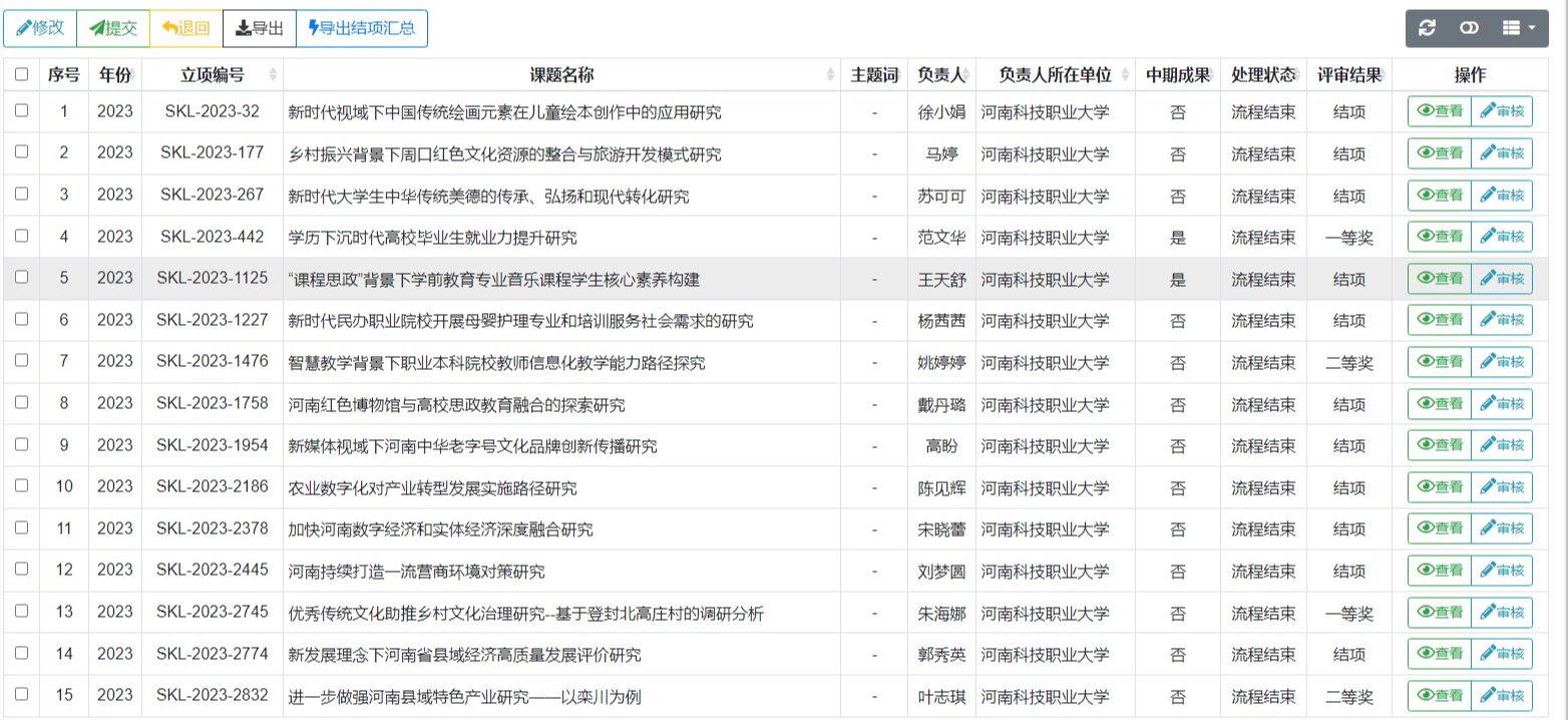
yl6809永利15项2023年度河南省社会科学界联合会调研课题获批结项(其中一等奖2项、二等奖2项)

作者:王璐   来源:      发布日期:2024-12-05   浏览:

校内各部门:

根据河南省社会科学界联合会项目申报系统评审结果,yl6809永利15项2023年度河南省社会科学界联合会调研课题获批结项,其中一等奖2项、二等奖2项、三等奖11项。望各位老师再接再厉,积极投身于科研工作中,取得更多科研突破,推动yl6809永利科研工作的持续高质量发展。结项获奖名单如图所示:

 科技处  

2024年12月5日